發布時間:2019-11-05 08:32 瀏覽次數:12433
工作原理: |
旋轉活塞燃油流量計,是屬于容積式流量計,它基于活塞與計量室一直保持相切密封狀態,并且有一個固定的偏心距的計量元件活塞,在流體的壓差作用下對活塞產生轉動力距,使活塞做偏心旋轉運動,活塞的轉數正比于流體的流量,從而通過記數機構記錄出它的轉數,即可測得流體流量。
用途及特點: |
該旋轉活塞燃油流量計,是引進日本選進技術設計生產的一種流量儀表,它可以測量重柴油;原油;重油及符合粘度要求范圍內的石油介質流經管道總量,它具有工作可靠,壓力損失小,精度高等優點。
儀表的調校: |
儀表出廠時,調至精度范圍內,但由于長時間使用以及安裝不當等原因,可能出現誤差增大現象,所以,該表應定期標定(一、二年標定一次),出廠時沒帶調整誤差齒輪,如儀表需要修正時,可與我廠聯系更換齒輪,以便提高和保證儀表精度。
主要技術指標: |
|
主要技術指標型號 |
LS-13B |
LS-20B |
LS-25B |
|
公稱口徑DN |
13 |
20 |
25 |
|
流量范圍L/n |
30-240 |
60-800 |
120-1600 |
|
精 度 |
0.5;1.0 |
||
|
公稱壓力MPa |
≤1 |
||
|
工作介質溫度 |
±100℃ |
||
|
燃燒溫度℃ |
≤100℃ |
||
|
燃油粘度CPa·S |
1-l2 |
||
|
壓力損失MPa |
≤0.05 |
||
|
最大累計值L |
99999999 |
||
|
配套濾油器 |
能過濾出最小尺寸0.1mm以上的雜質 |
||
外形尺寸: |
|
旋轉活塞燃油流量計的外形尺寸
|
||||||||
|
項目 |
外形尺寸 |
法蘭尺寸 |
||||||
|
公稱口徑DN |
L |
H |
B |
公稱壓力MPa |
法蘭形式 |
D |
C |
d |
|
13 |
140 |
196 |
120 |
1.0 |
JB81-59 |
Φ95 |
Φ65 |
Φ14 |
|
20 |
160 |
195 |
120 |
Φ105 |
Φ75 |
Φ14 |
||
|
25 |
220 |
223 |
120 |
Φ115 |
Φ85 |
Φ14 |
||
|
濾油器的外型尺寸
|
||||||||
|
項目 |
外形尺寸 |
法蘭尺寸 |
||||||
|
公稱口徑DN |
L |
H |
B |
公稱壓力MPa |
法蘭形式 |
D |
C |
d |
|
13 |
130 |
110 |
95 |
1.0 |
JB81-59 |
Φ95 |
Φ65 |
Φ14 |
|
20 |
220 |
163 |
120 |
Φ105 |
Φ75 |
Φ14 |
||
|
25 |
230 |
188 |
120 |
Φ115 |
Φ85 |
Φ14 |
||

結構: |
旋轉活塞流量計是由測量機構和計數機構兩部組成。
測量機構包括:主體、計量組件(活塞等)和傳動機構
計量組件是由旋轉活塞、隔板、偏心輪等組成,隔板位于徑向平面,活塞與計量室中心有一固定偏心距,并且活塞內,外壁與計量室始終有一相切處,把油腔分成兩部分。
活塞的轉動是通過磁性聯軸節傳遞記數機構的,連接部分用銅套和密封圈密封因而保證了儀表的密封。
儀表的記數機構,是采用齒輪減速機構和機械式的八位記數輪組成。
在測量機構與記數機構之間,裝有調整誤差的齒輕調差機構,以便校表時調整儀表的誤差。
安裝與使用: |
流量計與配套的濾油器,必須安裝在無腐蝕,無灰塵,無震動,無壓力波動及便于安裝,檢查,維護的地方,而且要有防潮、防雨措施。
被測液體凍結會損壞流量計,因此,凡是安裝在室外的流量計必須有保溫措施。
流量計應盡可能裝在壓力管線上,使得設備停止運轉期間被測液體仍充滿計量腔。
安裝前,一定要將管道沖洗干凈,徹底清除留在管道內的臟物及雜質。
該流量計必須與濾油器配套使用而用水平安裝(即表盤在水平位置),安裝時要注意流體流向,應符合流量計主體上的箭頭所示方向。為了使工藝設備不停止運轉即可檢修流量計與清洗濾油器,應裝設副管線,可參照下面的安裝示意圖。

安裝示意圖
安裝完成后,要關閉流入流出閥門,然后打開旁路閥門,先使流體通過旁路流通,沖洗充足后,慢慢打開流入流出閥門,然后關閉旁路閥門。
流量計應在較小流量下啟動,并檢查計數器是否靈活轉動,然后增加流量,盡可能增致最大,這樣表內的殘留空氣可以被帶走。
必須在此儀表規定的壓力、溫度、粘度、精度。流量范圍內使用。
維護與故障處理: |
使用旋轉活塞流量計,應當注意被測液體的特性,如溫度、壓力、粘度,流量范圍等是否符合儀表規定。使用中要定期檢查與清洗濾油器,每運轉500小時清洗一次過濾網。
|
故障 |
原 因 |
消除辦法 |
|
|
讀數 |
被測介質含空氣 |
1、流量表處于真空而把空氣吸入 2、被測介質含有空氣或放出氣體 3、由于溫度高,被測介質蒸發 |
改裝設備或安裝氣體分離器 |
|
4、壓力罐帶來的空氣 |
安裝穩定器或氣體分離器 |
||
|
讀數 |
1、油泵輸出量太小或管道堵塞 2、出口接至密封容器設有通氣孔 |
改變安裝線路, |
|
|
3、過濾網堵塞 |
清洗濾網 |
||
|
4、旋轉活塞和計量室之間的尺寸公差太大,活塞磨損 |
1、活塞磨損不嚴重是由傳動齒輪造成的,需要更齒輪 |
||
|
被測液體 |
活塞不旋轉 |
1、計量室不干凈 2、計量室有外來雜質 |
清洗流量表 |
|
3、活塞和計量室有腐蝕 |
更換流量表 |
||
|
活塞硬裂 |
更換活塞 |
||
|
1、磁性聯接裝置,記數機構被損壞 |
拆開流量計檢查處理或更換零件 |
||
|
2、蝸輪蝸桿脫開(不嚙合) |
松開蝸輪頂絲,調整蝸輪蝸桿嚙合間隙,使之正確嚙合 |
||
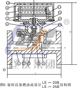
結構示意圖: |
![]() 1 計量室蓋 2 槽輪 3 定心軸 4活塞 5主體
6 外磁鋼 7 表頭罩 8 記數輪 9表盤 10 面罩
11調差齒輪 12 表頭體 13 上蓋 14 O型密封圈 |
![]()
圖5旋轉活塞燃油流量計LS-13B結構圖
1 計量室蓋 2 槽輪 3 定心軸 4活塞 5主體 6 外磁鋼 7 表頭罩 8 記數輪 9表盤 10 面罩 11 表頭體 12調差齒輪 13上蓋 14減速機構 15 O型密封圈 |
Phone: 13352349933
Tel: 0419-2122560 0419-2123500
Email: lyyb1958@163.com
Add: 注冊地址:遼寧省遼陽市白塔區衛國路67號 生產地址(郵寄地址):遼寧省遼陽市宏偉區光華街12號